I've been trying to put the rear box together (dry fit) on the Emhar 1/35 Mark tank, but cannot for the life of me figure out the proper way it goes together! Please tell me the right way!
Not having seen the 1/35 version, this may sound patronising, but I assure you it is meant in good faith.
There is a flap for the petrol tank opening. The flap should be on top, with the hinges closest to the body of the tank.
You misinterpreted my question. The directions show which panel of the box goes on which side and in which direction.
BUT...
I cannot figure out the way the pieces are supposed to fit together, as the joints can go either way, and I wanted to make sure before I applied any cement. I've been caught like that before.
That's OK. I just wanted someone who has completed a 1/35 Emhar Mark tank to tell me what they did. I take it the smaller scale kits are very different.
Thomas, I don't quite understand the question. The fuel tank is at the front, and I can't see a box at the rear. By "rear box" do you mean the fighting compartment (Parts 11, 12, 13, 14, 18, 20, & 26)?
-- Edited by James H on Thursday 4th of August 2011 12:38:00 PM
__________________
"Sometimes things that are not true are included in Wikipedia. While at first glance that may appear like a very great problem for Wikipedia, in reality is it not. In fact, it's a good thing." - Wikipedia.
Thomas, I don't quite understand the question. The fuel tank is at the front, and I can't see a box at the rear. By "rear box" do you mean the fighting compartment (Parts 11, 12, 13, 14, 18, 20, & 26)?
-- Edited by James H on Thursday 4th of August 2011 12:38:00 PM
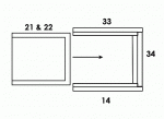
I knew this was going to be a very difficult question to explain. It's in Step 6, and the parts are 14, 21, 22, 33, 34. The unit attaches to part 31 in Step 8.
The other box isn't a problem, the parts can only fit together one was because of how they are shaped and how they fit upon the hull top. That is not the case with the box I am referring to, where when I dry fit the parts the unit doesn't seem right no matter how I do it. I figured somebody here must have gotten it together the right way and can tell me how they managed it.
Ah. I see what you mean. It's the crew or fighting compartment, and the fitting is rather hit-and-miss. It's a bit like trying to make a barrel, if you see what I mean.
I managed it by gluing Part 3 in place, then applying a very small amount of liquid glue to the bottom of Parts 14 and 13 then adjusting them before the glue set, using the roof (Part 12) to check, followed by 11, 18, 20, & 26. It's best to work as quickly as possible and get them into position even if only precariously. Once the glue is set you can put a rubber band round the whole thing and run more glue down the inside of the joints.
One thing to point out; the roof isn't a 100% fit. There's a slight gap where the roof meets Parts 18, 20, and 26. It isn't a major problem and a spot of filler will put it right. I thought it was just me, but the author of this excellent article found the same thing. He recommends using something called Zap-a-Gap, which I don't know much about but which I assume gives you a little time to make adjustments. I suppose you could even use Blu-Tack to hold the pieces in place while you align them before running the glue down the seams.
And there's this article on the Whippet from Landships's own Eugene Sautin.
It is fiddly, but you get there in the end.
I await your report.
__________________
"Sometimes things that are not true are included in Wikipedia. While at first glance that may appear like a very great problem for Wikipedia, in reality is it not. In fact, it's a good thing." - Wikipedia.
I'm terribly sorry. I can offer no logical explanation for why I did that apart from, possibly, the onset of dementia.
Now I really do see what you mean. Whichever way you butt the parts in question, they don't seem to form a box that fits flush to the rear hull plates. At least, I can't make them.
-- Edited by James H on Saturday 6th of August 2011 07:06:21 PM
__________________
"Sometimes things that are not true are included in Wikipedia. While at first glance that may appear like a very great problem for Wikipedia, in reality is it not. In fact, it's a good thing." - Wikipedia.
I'm terribly sorry. I can offer no logical explanation for why I did that apart from, possibly, the onset of dementia.
Now I really do see what you mean. Whichever way you butt the parts in question, they don't seem to form a box that fits flush to the rear hull plates. At least, I can't make them.
Hello, Tom. You'll be pleased to hear that I am now back in my right mind.
I've had a fiddle, and the enclosed sketch shows what seems to be the correct way of assembling the fuel tank cover. Not immediately clear from the instructions, and you'll notice that Part 34 is shown upside down, according to the MkIV on display at APG here. It also appears to be somewhat inaccurate as regards the rivets.
It still seems that there's a slight gap between the box and the hull rear (Part 31) because of the angle-iron running down the outside. How that works in real life, I don't know. Perhaps someone has knowledge of it.
BTW, appalling to see how badly corroded the APG MkIV is. I don't suppose there's any money to do anything about it, things being what they are.
"Sometimes things that are not true are included in Wikipedia. While at first glance that may appear like a very great problem for Wikipedia, in reality is it not. In fact, it's a good thing." - Wikipedia.
On HMLS Excellent in The Tank Museum, there is a small gap at each side of the fuel tank, between the fuel tank and the rear horns; if that is the gap you are talking about.
The gap can be seen in this photo: one of the many images of HMLS Excellent to be seen in the article on surviving Mark IV tanks on Landships II.
As Emhar modelled their Mark IV on HMLS Excellent, I thought this appropriate to mention: my apologies if I have misunderstood.
Mais non! I mean where the long edge meets the rear panels of the hull.
By the look of it, there has to be a gap at the sides to clear the round things the name of which I can't remember.
As you can see from the sketch, butting the top, rear, and bottom as the instructions seem to indicate (and as per the original) doesn't work. If you do that, the end pieces have to butt externally, which means they don't meet the rear hull and (I think) the whole assembly is too wide.
"Sometimes things that are not true are included in Wikipedia. While at first glance that may appear like a very great problem for Wikipedia, in reality is it not. In fact, it's a good thing." - Wikipedia.
Just to let everyone know that after some careful examinations of photographs of Mark IV tanks, the back edge of the box is supposed to butt against the tank's rear panel and the angle iron should be removed accordingly.
But I also noticed a wedge-shaped panel on the tank rear where the long edge rests against the top of the box just behind the small door and the short edge rests against the rear body panel near the top. What is that supposed to be, and did all tanks have this?